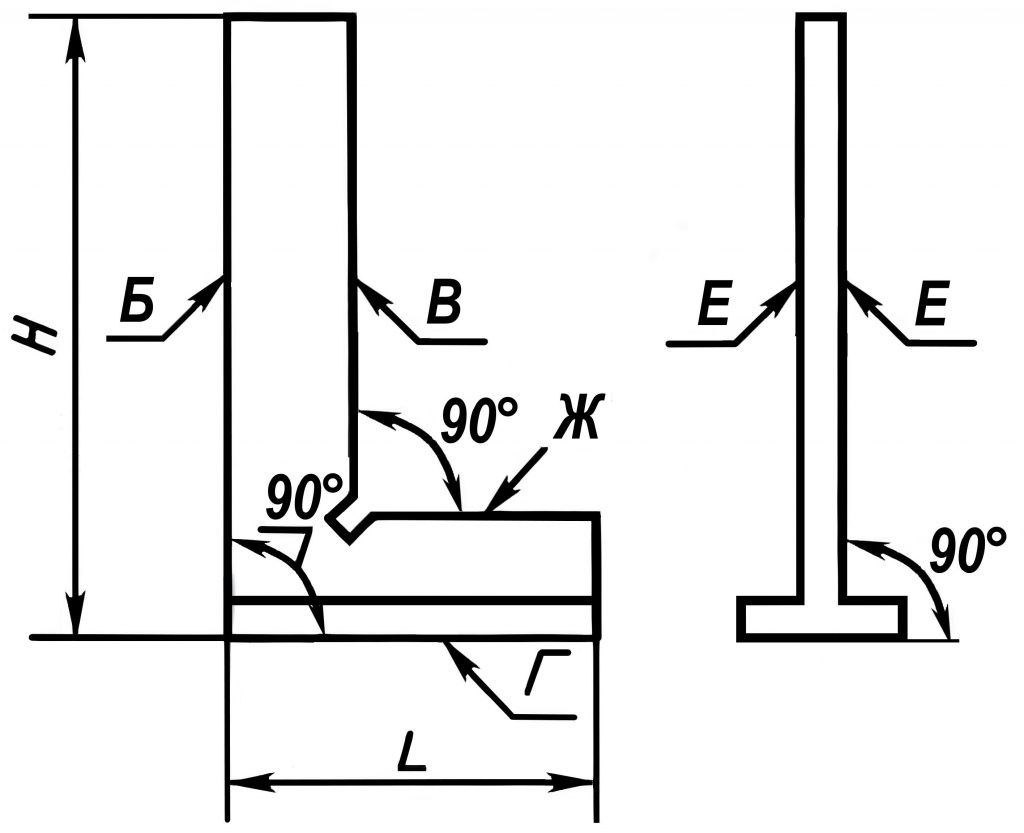
Угольники поверочные слесарные с широким основанием (тип УШ по ГОСТ 3749-77) предназначены для проверки и разметки прямых углов (90°). Угольник соответствует требованиям ТУ 26.51.33.143-010-40323842-2017 и признан годным для эксплуатации. Применяются для контроля перпендикулярного расположения деталей в процессе слесарно-сборочных и лекальных работ, проверки и разметки прямых углов, контроля взаимно перпендикулярного расположения поверхностей деталей при монтаже различных видов оборудования. Класс точности 1 позволяет использовать угольник в ответственных измерительных задачах, где требуется максимальная точность.
Гарантийный срок эксплуатации — 18 месяцев со дня продажи, при соблюдении потребителем условий транспортировки, хранения и эксплуатации. Первичная калибровка будет произведена в соответствии с методикой калибровки МК.ИМЦ.03.07.2020 рабочего средства измерений – Угольники поверочные УП/УШ АЛЬФА-НДТ.


|
Характеристика |
Для класса точности |
НxL, мм |
|||||
|
60х40 |
100х60 |
160х100 |
250х160 |
400х250 |
|||
|
Допуск перпендикулярности измерительных поверхностей Б и В к опорным поверхностям Г и Ж на длине Н, мкм |
1 |
5 |
6 |
7 |
9 |
12 |
|
|
2 |
13 |
15 |
18 |
22 |
30 |
||
|
Допуск плоскостности измерительных поверхностей Б и В на длине Н, мкм |
1 |
2 |
2 |
3 |
3 |
5 |
|
|
2 |
4 |
4 |
6 |
6 |
10 |
||
|
Допуск плоскостности опорных поверхностей Г и Ж на длине Н, мкм |
1 |
2,5 |
2,5 |
4 |
4 |
6 |
|
|
2 |
5 |
5 |
8 |
8 |
12 |
||
|
Допуск параллельности опорных поверхностей Г и Ж на длине Н, мкм |
1 |
5 |
6 |
7 |
9 |
12 |
|
|
2 |
10 |
12 |
14 |
18 |
25 |
||
|
Допуск перпендикулярности боковых поверхностей Е к опорной поверхности Г, мкм |
1 |
40 |
50 |
60 |
80 |
100 |
|
|
2 |
125 |
160 |
200 |
250 |
320 |
||
|
Шероховатость Ra измерительных поверхностей Б и В на базовой длине 0.25 мм, мкм, не более |
1 |
0,08 |
|||||
|
2 |
0,16 |
||||||
|
Шероховатость Ra опорных поверхностей Г и Ж на базовой длине 0.25 мм, мкм, не более |
1 |
0,32 |
|||||
|
2 |
0,63 |
||||||
|
Шероховатость Ra боковых поверхностей Е на базовой длине 0.8 мм, мкм, не более |
1 и 2 |
1,25 |
|||||
|
Твердость, HRC, не ниже |
1 и 2 |
55 |
|||||
|
Колебание твердости для одной поверхности, единицы твердости, не более |
1 и 2 |
3 |
|||||
|
Допускаемая соединением линейки с основанием нагрузка, Н |
1 и 2 |
196 |
294 |
||||
|
Н, мм |
Габаритные размеры, мм, не более |
Масса, кг, не более |
||
|
длина |
ширина |
глубина |
||
|
60 |
60 |
40 |
20 |
0,11 |
|
100 |
100 |
60 |
30 |
0,21 |
|
160 |
160 |
100 |
35 |
0,40 |
|
250 |
250 |
160 |
45 |
1,20 |
|
400 |
400 |
250 |
55 |
3,20 |
Угольник поверочный - 1 шт.;
Паспорт с первичной калибровкой изделия - 1 экз.;
Транспортировочная тара (Мягкий чехол).